plc柜 dcs系统柜 仪表盘 仪表操作台盘内配线要求
南海现代配电箱H系列C45单排暗装铁底塑面配电箱(配铜条接线柱)图片,南海现代配电箱H系列C45单排暗装铁底塑面配电箱(配铜条接线柱)图片大全,广州市越秀顺景电工器材-
常州市武进坂上东方电子元件厂
三诺n 35g摩机冠军版音箱产品图片17素材 it168音箱图片大全
接线柱 接线端子
供应yb280接线柱
接线柱图片,接线柱高清图片 陈乐丹 个体经营 ,
接触器接线柱供应商,价格,接触器接线柱批发市场
厂家直销 wj410
铍铜弹簧供应信息 铍铜弹簧批发 铍铜弹簧价格 找铍铜弹簧产品上
供应09年 u型接线端子
各种接线柱批发 各种接线柱供应 各种接线柱厂家
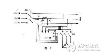
功率因数表原理 功率因数表怎么接线
防爆纯铜电机接线柱m5 m16图片,防爆纯铜电机接线柱m5 m16高清图片 东光县铭轩电机配件厂,
l1和l2是零线还是火线
供应防爆电机接线柱
翔升gts450 金刚版 1g d5显卡产品图片8素材 it168显卡图片大全
领先电声技术 麦博2012发布会新品展示
用伏安法测电阻时.所用器材及实验电路图如下图1所示.请你根据实验电路图.用笔画线连接好实物电路 图2 . 实物图中a.b为滑动变阻器上线圈两端的接线柱 题目和参考答案
熊五金件供应商,价格,熊五金件批发市场
如若转载,请注明出处:http://www.lydqpj.com/product/list-7.html